Our Experience
20+
YEARS OF EXPEnvironmentally Friendly
Dust collecting efficiency reach to 99.9%
Safely Delivered
Delivered to Door and help you to setup
Support Warranty
Support and guidance on using our machines

The Panama chock is produced according to German Standard DIN 81915. The Panama chock, mounted on deck or bulwark, is closed chock which is used to control the position of mooring ropes. The material of the chock is GS-38 (material 1.0420) according to DIN1681 (cast steel). There are only two stiffeners around the Panama chock, therefore, the SWL of the chock is less than the ISO13728 Panama chock. However, the Din81915 chocks are also commonly used around the world, especially for the vessels in Europe. All the edges of the Panama chock must be ground smooth, especially where the rope is in contact with the chock. And it is required to be a blast and primed for the surface treatment. It is used for vessels, tug, cargo ship, military ship, industrial ships etc.
The marine chock is an important mooring equipment. There’re different types of mooring chocks with different standards including ISO, JIS, DIN, NS. SWL will be from 8KN to 3000KN according to your requirements. In the process of mooring ship, it bears huge loads. Usually, the ship bollards and mooring chock are for the whole ship mooring use. The general bow and stern of ship block the bollard fairlead, quantity large. Of intermediate section above without or bollards, fairlead rarely. Fairlead is oblique chock more insurance, because it is closed, the cable will not jump out. The triangle chocks are widely used for small boats and different vessels, such as container vessels, tankers, bulk carriers, tug, dry cargo vessels, etc.
Marine mooring chock has two types: deck mounted chock & bulwark mounted chock. The material is casting steel ZG230-450 normally. IACS approved quality to withstand all conditions. Certificated by BV, ABS, LRS, DNVGL, RS, IRS, CCS, KR, NK, etc. We could also provide you with a customized design with CAD drawings.
Drawing of DIN81915 Bulwark Mounted Chock Type A


Drawing of DIN81915 Chock Type B
Drawing of DIN81915 Chock Type C


Drawing of DIN81915 Chock Type D
Drawing of DIN81915 Chock Type E

| DIN81915 Bulwark Mounted Panama Chock (Type A) | ||||||||||||||||
| Model | SWL | Dimensions(mm) | Weight | |||||||||||||
| (kN) | L | W | H | H1 | A | B | (kg) | |||||||||
| A2 | 20 | 360 | 200 | 315 | 70 | 160 | 115 | 26 | ||||||||
| A3 | 30 | 450 | 250 | 390 | 75 | 200 | 140 | 42 | ||||||||
| A5 | 50 | 550 | 300 | 480 | 80 | 250 | 180 | 74 | ||||||||
| A8 | 80 | 680 | 360 | 585 | 90 | 320 | 225 | 120 | ||||||||
| A12 | 125 | 840 | 440 | 710 | 110 | 400 | 270 | 185 | ||||||||
| A20 | 200 | 1020 | 520 | 840 | 130 | 500 | 320 | 285 | ||||||||
| A32 | 320 | 1300 | 700 | 1100 | 150 | 600 | 400 | 795 | ||||||||
| Remarks: A2-A8= Single Chock according to Panama Rules A12-A32= Double Chock according to Panama Rules | ||||||||||||||||
| Parameters of DIN81915 Chock Type B | ||||||||||||||||
| Nominal Size | d(mm) | l2 | ||||||||||||||
| 1 | 30 | 115 | ||||||||||||||
| 2 | 35 | 125 | ||||||||||||||
| 3 | 40 | 140 | ||||||||||||||
| 5 | 45 | 160 | ||||||||||||||
| 8 | 50 | 180 | ||||||||||||||
| DIN81915 Deck Mounted Panama Chock (Type C) | ||||||||||||||||
| Model | SWL(kN) | Dimensions(mm) | Weight (kg) | |||||||||||||
| L | W | H | H1 | A | B | |||||||||||
| C2 | 20 | 360 | 200 | 316 | 158 | 160 | 115 | 29 | ||||||||
| C3 | 30 | 450 | 250 | 390 | 195 | 200 | 140 | 48 | ||||||||
| C5 | 50 | 550 | 300 | 480 | 240 | 250 | 180 | 85 | ||||||||
| C8 | 80 | 680 | 360 | 586 | 293 | 320 | 225 | 136 | ||||||||
| C12 | 125 | 840 | 440 | 710 | 355 | 400 | 270 | 211 | ||||||||
| C20 | 200 | 1020 | 520 | 840 | 420 | 500 | 320 | 325 | ||||||||
| C32 | 320 | 1300 | 700 | 1100 | 550 | 600 | 400 | 840 | ||||||||
| Parameters of DIN81915 Chock Type D | ||||||||||||||||
| Nominal Size | d(mm) | l2 | ||||||||||||||
| 1 | 30 | 115 | ||||||||||||||
| 2 | 35 | 125 | ||||||||||||||
| 3 | 40 | 140 | ||||||||||||||
| 5 | 45 | 160 | ||||||||||||||
| 8 | 50 | 180 | ||||||||||||||
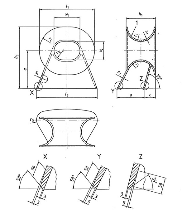
| Parameters of DIN81915 Chock Type E | ||||||||||||||||
| Nominal Size | Wire W.L.(Kn) | a | b3 | c | e | h1 | l1 | l3 | r1 | r2 | r3 | r4 | s1 | w1 | w2 | Weight(Kg) |
| 8 | 80 | 340 | 752 | 130 | 460 | 360 | 680 | 750 | R180 | R113 | R110 | R293 | 18 | 320 | 225 | 185 |
| 12 | 120 | 350 | 775 | 130 | 470 | 360 | 760 | 800 | R180 | R125 | R100 | R305 | 28 | 400 | 250 | 300 |
| 20 | 200 | 560 | 1070 | 190 | 650 | 520 | 1020 | 1200 | R260 | R160 | R170 | R420 | 28 | 500 | 320 | 540 |