Standard: CB/T 3822-99
Type: Adjustable Type A & Type B.
Suitable chain size: 22mm~137mm.
Certificate.: CCS, ABS, BV, DNV, LR, etc.
Our Experience
20+
YEARS OF EXPEnvironmentally Friendly
Dust collecting efficiency reach to 99.9%
Safely Delivered
Delivered to Door and help you to setup
Support Warranty
Support and guidance on using our machines

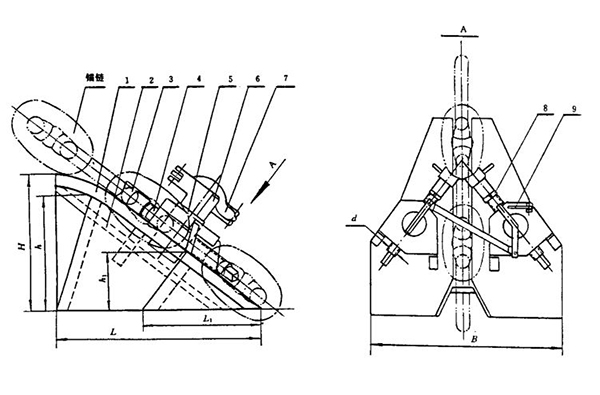
The adjustable chain stopper is a new type of chain stopper developed and produced by China. Its structural feature is that the top block is adjustable and retractable, and the anchor chain is released and clamped by rotating the screw to extend and retract the top block.
The adjustable chain stopper specified in the standard CB T3822-99 is suitable for M1, M2, M3 anchor chains with a diameter from 22mm to 137mm. Type A adjustable chain stopper doesn’t have rollers, and Type B adjustable chain stopper has rollers. The main parts of the adjustable chain stopper are made of ordinary carbon steel, cast steel, high-quality carbon steel, cast copper, manganese steel and other materials. The parts of the adjustable chain stopper should be smooth and free of burrs, cracks and other defects that affect the strength. After the assembly of the adjustable chain stopper, the rotating parts should be coated with lubricating oil, and the other parts should be sprayed with anti-rust primer, and then covered with paint. Adjustable chain stopper must undergo strict quality inspection by the manufacturer’s quality inspection department before leaving the factory. Only after passing the test can a certificate of conformity be issued. Adjustable chain stoppers that pass the inspection should include the following marks:
1. Product model and standard number;
2. Production batch number or production year and month;
3. The mark of qualified inspection;
4. The name or trademark of the manufacturer.
Drawing & Parameters of CB T3822-99 Adjustable Chain Stopper
Type A


Drawing & Parameters of CB T3822-99 Adjustable Chain Stopper
Type B
| Drawing & Parameters of CB T3822-99 Adjustable Chain Stopper Type A | ||||||||||
| Nominal Size | Applicable Anchor Chain Dia.(mm) | B | H | h | h1 | L | L1 | Screw d | Weight (kg) | |
| 24 | 22~24 | 383 | 215 | 183 | 94 | 328 | 184 | Tr24x5 | 35 | |
| 28 | 26~28 | 449 | 251 | 214 | 109 | 383 | 214 | Tr28x5 | 56 | |
| 32 | 30~32 | 515 | 278 | 245 | 125 | 438 | 245 | Tr32x6 | 83 | |
| 36 | 34~36 | 580 | 323 | 275 | 140 | 492 | 275 | Tr36x6 | 118 | |
| 40 | 38~40 | 644 | 359 | 306 | 156 | 547 | 306 | Tr40x7 | 162 | |
| 44 | 42~44 | 708 | 395 | 336 | 171 | 602 | 336 | Tr44x7 | 216 | |
| 48 | 46~48 | 773 | 431 | 367 | 187 | 656 | 367 | Tr48x8 | 280 | |
| 52 | 50~52 | 837 | 466 | 398 | 203 | 711 | 398 | Tr52x9 | 356 | |
| 56 | 54~56 | 902 | 502 | 428 | 218 | 766 | 428 | Tr55x9 | 445 | |
| 60 | 58~60 | 966 | 538 | 459 | 234 | 820 | 459 | Tr60x9 | 547 | |
| 64 | 62~64 | 1031 | 574 | 489 | 249 | 875 | 489 | Tr65x10 | 664 | |
| 68 | 66~68 | 1095 | 610 | 520 | 265 | 930 | 520 | Tr70x10 | 797 | |
| 73 | 70~73 | 1175 | 654 | 558 | 284 | 998 | 558 | Tr75x10 | 985 | |
| 78 | 76~78 | 1256 | 700 | 596 | 304 | 1067 | 596 | Tr80x10 | 1203 | |
| 84 | 81~84 | 1353 | 753 | 642 | 327 | 1148 | 642 | Tr85x12 | 1501 | |
| 90 | 87~90 | 1449 | 807 | 688 | 350 | 1230 | 688 | Tr90x12 | 1846 | |
| 95 | 92~95 | 1530 | 852 | 726 | 370 | 1299 | 726 | Tr95x12 | 2173 | |
| 102 | 100~102 | 1642 | 915 | 780 | 398 | 1395 | 780 | Tr100x12 | 2690 | |
| 107 | 105~107 | 1723 | 959 | 818 | 417 | 1463 | 818 | Tr110x12 | 3102 | |
| 114 | 111~114 | 1836 | 1022 | 871 | 444 | 1559 | 871 | Tr120x14 | 3752 | |
| 120 | 117~120 | 1932 | 1077 | 918 | 468 | 1641 | 918 | Tr120x14 | 4382 | |
| 127 | 122~127 | 2045 | 1139 | 971 | 495 | 1737 | 971 | Tr130x14 | 5195 | |
| 137 | 130~137 | 2206 | 1229 | 1048 | 534 | 1874 | 1048 | Tr140x14 | 6520 | |
| Drawing & Parameters of CB T3822-99 Adjustable Chain Stopper Type B | ||||||||||
| Nominal Size | Applicable Anchor Chain Dia.(mm) | B | H | h | h1 | L | L1 | D | Screw d | Weight(kg) |
| 24 | 22~24 | 383 | 427 | 276 | 35 | 458 | 133 | 264 | Tr24x5 | 72 |
| 28 | 26~28 | 449 | 498 | 322 | 41 | 538 | 156 | 308 | Tr28x5 | 118 |
| 32 | 30~32 | 515 | 569 | 368 | 47 | 616 | 179 | 352 | Tr32x6 | 175 |
| 36 | 34~36 | 580 | 641 | 415 | 53 | 694 | 201 | 396 | Tr36x6 | 249 |
| 40 | 38~40 | 644 | 712 | 461 | 59 | 770 | 224 | 440 | Tr40x7 | 342 |
| 44 | 42~44 | 708 | 783 | 507 | 65 | 848 | 246 | 484 | Tr44x7 | 455 |
| 48 | 46~48 | 773 | 854 | 553 | 71 | 925 | 268 | 528 | Tr48x8 | 591 |
| 52 | 50~52 | 837 | 925 | 599 | 76 | 1002 | 291 | 572 | Tr52x8 | 752 |
| 56 | 54~56 | 902 | 996 | 644 | 82 | 1079 | 313 | 616 | Tr55x9 | 939 |
| 60 | 58~60 | 966 | 1067 | 691 | 88 | 1156 | 335 | 660 | Tr60x9 | 1154 |
| 64 | 62~64 | 1031 | 1139 | 737 | 95 | 1233 | 358 | 704 | Tr65x10 | 1401 |
| 68 | 66~68 | 1095 | 1210 | 783 | 100 | 1310 | 380 | 748 | Tr70x10 | 1681 |
| 73 | 70~73 | 1175 | 1298 | 840 | 107 | 1406 | 408 | 803 | Tr75x10 | 2079 |
| 78 | 76~78 | 1256 | 1388 | 898 | 115 | 1502 | 436 | 858 | Tr80x10 | 2537 |
| 84 | 81~84 | 1353 | 1494 | 967 | 123 | 1618 | 469 | 924 | Tr85x12 | 3169 |
| 90 | 87~90 | 1449 | 1601 | 1036 | 132 | 1734 | 503 | 990 | Tr90x12 | 3897 |
| 95 | 92~95 | 1530 | 1690 | 1094 | 140 | 1830 | 531 | 1045 | Tr95x12 | 4583 |
| 102 | 100~102 | 1642 | 1815 | 1175 | 150 | 1965 | 570 | 1122 | Tr100x12 | 5673 |
| 107 | 105~107 | 1723 | 1903 | 1232 | 157 | 2061 | 598 | 1177 | Tr110x12 | 6549 |
| 114 | 111~114 | 1836 | 2028 | 1312 | 168 | 2196 | 637 | 1254 | Tr120x14 | 7921 |
| 120 | 117~120 | 1932 | 2136 | 1382 | 176 | 2312 | 670 | 1320 | Tr120x14 | 9238 |
| 127 | 122~127 | 2045 | 2260 | 1463 | 188 | 2446 | 710 | 1397 | Tr130x14 | 10950 |
| 137 | 130~137 | 2206 | 2438 | 1578 | 201 | 2639 | 765 | 1507 | Tr140x14 | 13746 |