Our Experience
20+
YEARS OF EXPEnvironmentally Friendly
Dust collecting efficiency reach to 99.9%
Safely Delivered
Delivered to Door and help you to setup
Support Warranty
Support and guidance on using our machines

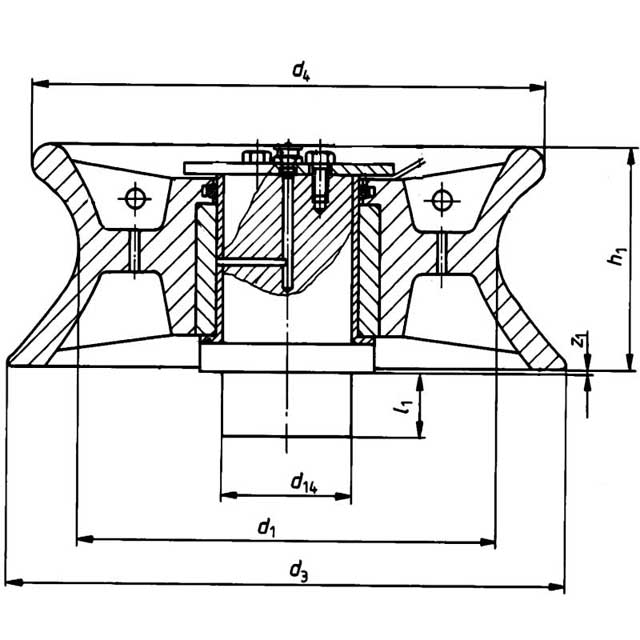
The warping roller is made according to the standard of DIN 81906-1999. It must be identified clearly and permanently with the nominal size and manufacture’s symbol. It is made from cast iron or cast steel material and the materials must conform to the DIN standard’s requirement, which increases the durability, good wear and corrosion resistance to ensure a long service time. Its maximum towing load is from 10KN to 320KN. It is used to guide rope or cable.
● Flexible bearing or axle;
● Smooth surface coated externally with an anti-corrosion protective finish;
● Anti-seawater material.
Marine fairlead roller , also called guide roller, is installed on the round-shaped base of ship deck between the fairlead and winch. It is used to change the direction of mooring ropes and helps lead the ropes to the reel.
We supply a variety of sizes and types of the fairlead rollers, including swivel head fairlead, DIN81906 warping roller, JIS F 2014 warping roller, vertical guide sheave, NS2585 warping roller and so on. Customized orders are welcomed.

| Dimensions (mm) | SWL | Weight | - | |||||||
| d1 | d3 | d4 | d14 | h1 | l1 | r1 | z1 | (kN) | (kg) | - |
| 1 | 160 | 210 | 195 | 60 | 80 | 50 | 25 | 1.5 | 10 | 12 |
| 2 | 200 | 265 | 245 | 70 | 102 | 50 | 32 | 2.5 | 20 | 18 |
| 3 | 250 | 330 | 300 | 85 | 126 | 50 | 42 | 2.5 | 32 | 33 |
| 5 | 320 | 420 | 390 | 106 | 160 | 50 | 55 | 2.5 | 50 | 68 |
| 8 | 400 | 530 | 490 | 125 | 208 | 60 | 73 | 2.5 | 80 | 136 |
| 12 | 450 | 610 | 560 | 160 | 256 | 85 | 95 | 2.5 | 125 | 225 |
| 20 | 500 | 640 | 620 | 190 | 278 | 100 | 111 | 4.5 | 200 | 336 |
| 32 | 560 | 780 | 740 | 230 | 348 | 150 | 125 | 4.5 | 320 | 580 |